Un acoplador óptico experimental puede ser hecho con propósito demostrativo y didáctico, como explicamos en esta experiencia. El emisor será un LED común y el receptor un LDR. Estos dispositivos son de bajo costo y de fácil obtención, lo que facilita la realización de la experiencia.

Para ella necesitaremos el siguiente material.

 

 

   LISTA DE MATERIAL

 

   2 LED rojo (LED1, LED2)

   B1 y B2 - 6 V - 4 pilas comunes pequeñas

   Q1 - BC548 o equivalente - transistores NPN de uso general

   LDR - LDR redondo común

   R1 - 470 ohms x 1/8 W - resistencia (amarillo, violeta, marrón)

   R2 - 560 ohms x 1/8 W - resistor (verde, azul, marrón)

   R3 - 10 k ohms x 1/8 W - resistor (marrón, negro, naranja)

   Varios: soporte de pilas, hilos, tubo opaco, etc.

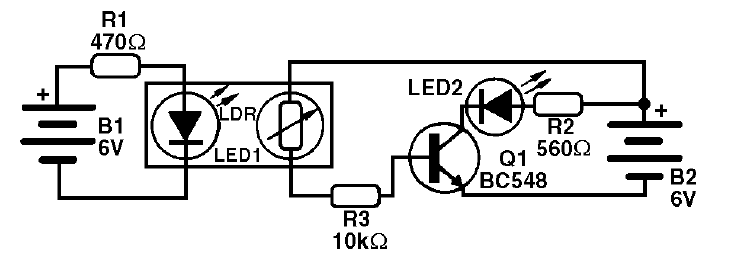
      En la figura 1 tenemos el diagrama completo del acoplador.

 

 

Figura 1 - Diagrama completo del acoplador
Figura 1 - Diagrama completo del acoplador | Clique na imagem para ampliar |

 

   

En la figura 2 tenemos el montaje experimento en un puente de terminales.

 

 

Figura 2 - Montaje en puente de terminales
Figura 2 - Montaje en puente de terminales | Clique na imagem para ampliar |

 

    

 El LED se monta dentro de un pequeño tubo de cartón apuntando a la superficie sensible del LDR que se coloca en el otro extremo del mismo tubo. No debe entrar luz en el tubo, por lo que necesitamos tapar con cinta aislante u otro recurso los dos extremos del tubo. El procedimiento para realizar la experiencia es simple:

   Cuando coloque las pilas en el soporte 1 (B1), veremos que el LED2 se enciende. Esto significa que el LED1 en el interior del tubo encendió y excitó el LDR, haciendo que el transistor condujera alimentando así el LED2.

   Desconectando la corriente de la batería B1, el LED2 se apaga. Podemos entonces controlar el circuito del LED2 a partir de la batería B1 aunque no haya conexión eléctrica entre los dos circuitos. El proceso se logra gracias a la acción del acoplador óptico.

   Haciendo una grieta en el tubo opaco como el lector podrá ver 3 podemos transformar nuestro acoplador óptico en una llave óptica.

 

 

          Figura 3 - Montaje del LED y del LDR
          Figura 3 - Montaje del LED y del LDR

 

   Colocando una tarjeta en la ranura, interrumpimos la luz y hacemos que el LED2 se apague.