Este circuito se puede utilizar en un enlace óptico de datos de hasta 40 kHz. El circuito utiliza como sensor una foto-diodo, pero también se pueden utilizar fototransistores.

    El sensor debe instalarse en un tubo opaco con lente convergente para obtener mayor sensibilidad y directividad y con ello mayor alcance también.

    Tenga en cuenta que este circuito no necesita una fuente simétrica de alimentación y se pueden utilizar amplificadores operacionales equivalentes.

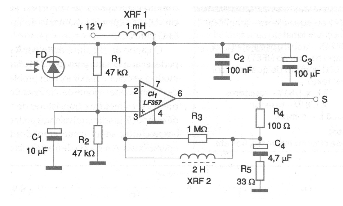
    En la figura 1 tenemos el diagrama completo del receptor.

 

 

Figura 1
Figura 1 | Clique na imagem para ampliar |

 

   

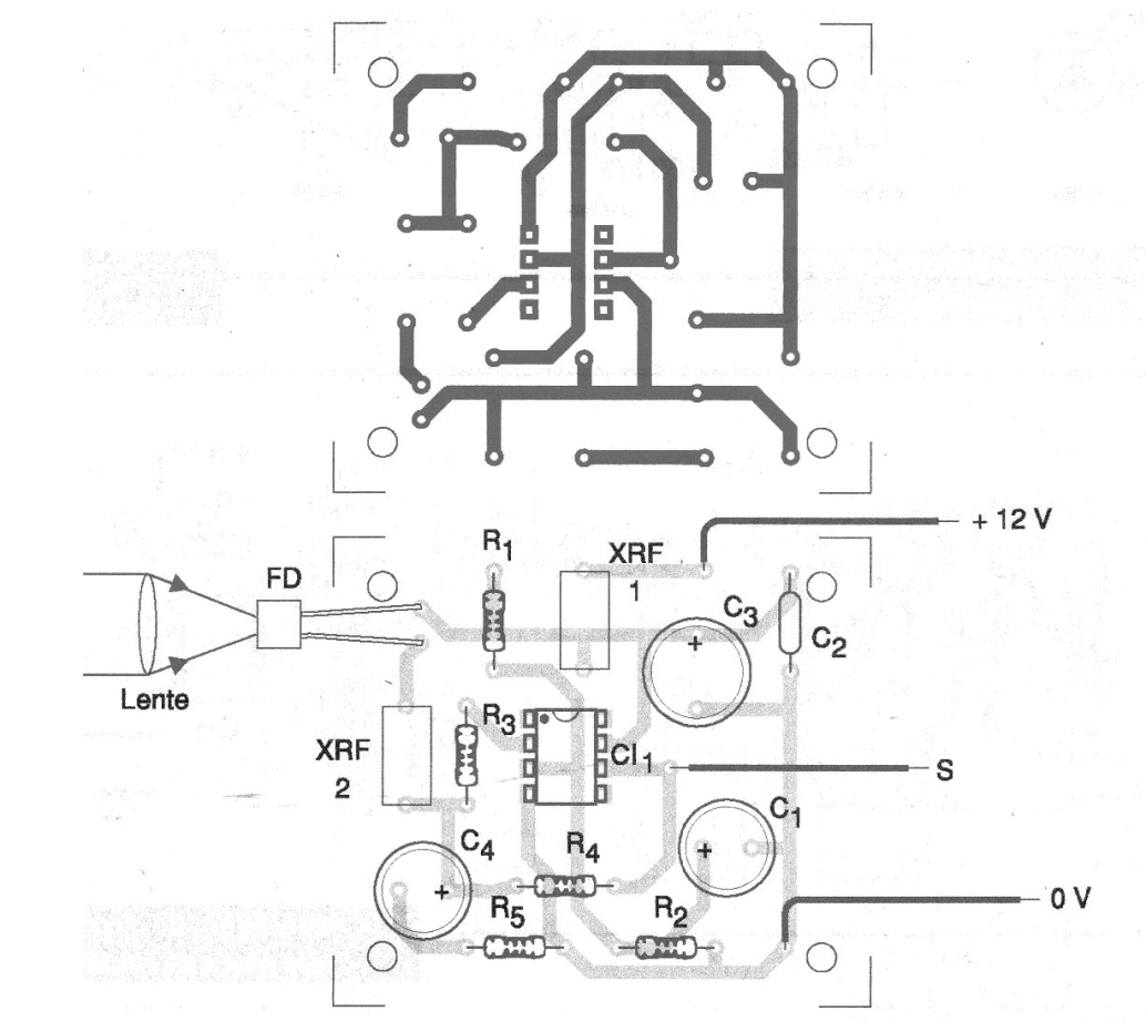
En la figura 2 tenemos una sugerencia de placa de circuito impreso.

 

 

Figura 2
Figura 2 | Clique na imagem para ampliar |

 

  

Como los datos se transmiten en frecuencias algo elevadas, el cuidado de los cables de señales debe tomarse.

 

 

    Lista de materiales

 

 CI1 – LF357 – Amplificador operacional

FD – Foto-diodo común

R1, R2 – 47k x 1/8 W – resistor

R3 – 1 M x 1/8 W – resistor

R4 – 100 ohms x 1/8 W – resistor

R5 – 33 ohms x 1/8 W – resistor

C1 – 100 nF – capacitor

C2 – 100 uF x 12 V – capacitor

C4 – 4,7 uF x 16 V – capacitor

XRF1, XRF2 – Choques de RF

Vários:

Placa de circuito impresso, hilos, soldadura, etc.