El simple cargador que describimos sirve para pilas AA y también AAA, y del tipo aprovechado de packs de teléfonos inalámbricos y otros aparatos. El circuito no tiene aislamiento de la red de energía, por lo que debe manejarse con cuidado.
Las baterías de teléfonos inalámbricos están formadas por conjuntos de pilas que se pueden aprovechar para alimentar sus proyectos electrónicos.
Cada celda proporciona 1,2 V con una corriente que puede llegar a los 200 mA y para su carga lo que necesitamos es un cargador simple, como lo que describimos en este artículo.
Si tenemos un conjunto de estas pilas que ya no funcionan, esto puede ocurrir porque sólo una o dos de las celdas tienen problemas, lo que significa que podemos aprovechar las demás, como se muestra en la figura 1.
El cargador que describimos puede funcionar en la red de 110 V y 220 V siendo muy sencillo de montar.
Sólo debemos tener cuidado en tocar en ninguna de sus partes cuando en funcionamiento, pues no siendo aislado de la red, puede causar choques peligrosos.
En la figura 2 tenemos el diagrama completo del cargador.
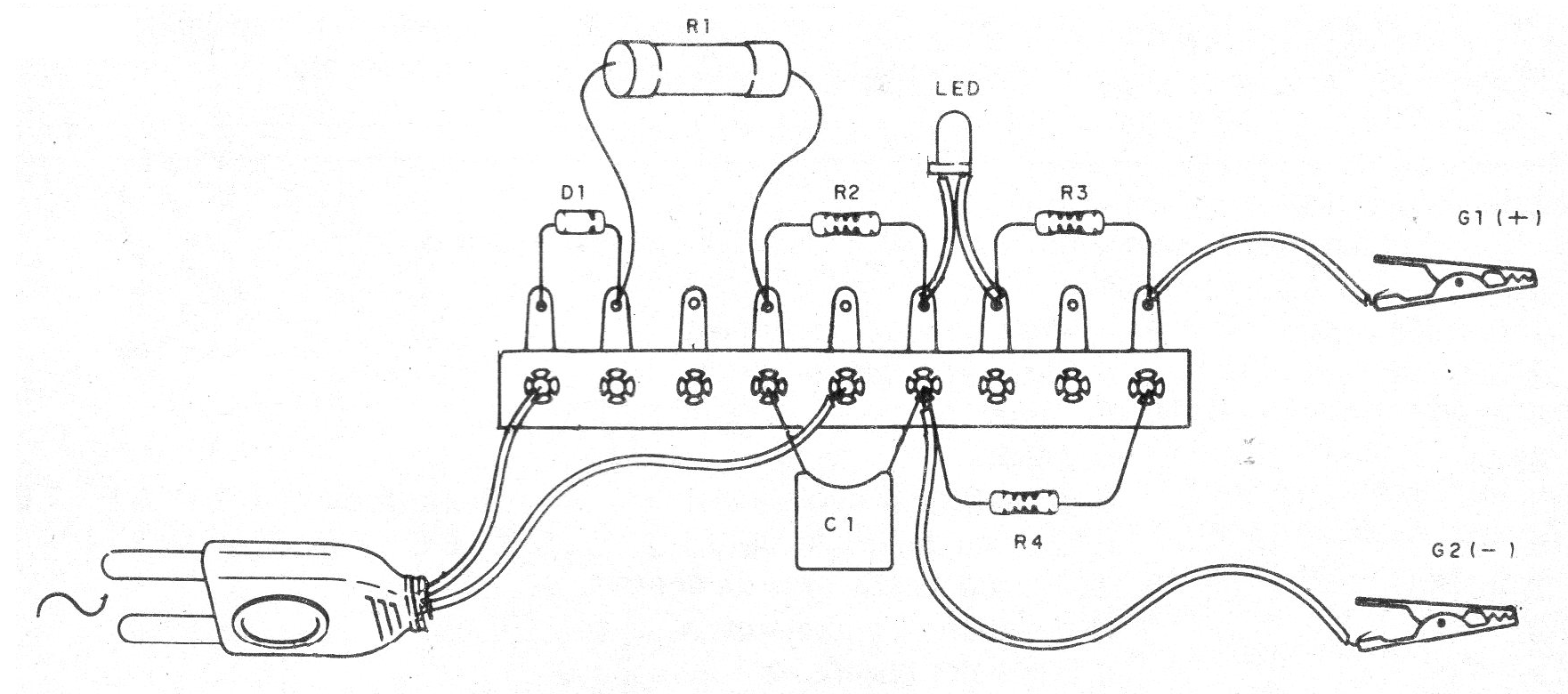
El montaje se puede realizar en base a una pequeña barra determinada, como se muestra en la figura 3.
El resistor R1 es de hilo, y su valor depende de la red de energía.
El calor entre paréntesis es para la red de 220 V, así como en el caso del diodo.
En el montaje, observe la polaridad del diodo y del LED.
Los demás componentes tienen especificaciones de acuerdo con la lista de materiales.
Para la conexión de las pilas en carga (que deben ser conectadas en serie) utilice hilos con garras y un soporte apropiado.
Lista de material:
D1 - 1N4004 o 1N4007 - diodo rectificador
LED1 - LED común de cualquier color
R1 - 2k2 ohms x 10 W (110 V) o 4k7 ohmios x 10 W (220 V) - resistor de hilo
R2 - 10 k ohms - resistor - marrón, negro, naranja
R3 - 100 ohms - resistor - marrón, negro, marrón
C1 - 100 nF - capacitor de poliéster para 200 V (110 V) o 400 V (220 V)
G1, G2 - garras jacaré
Varios:
Cable de fuerza, puente de terminales, hilos, soldadura, etc.






