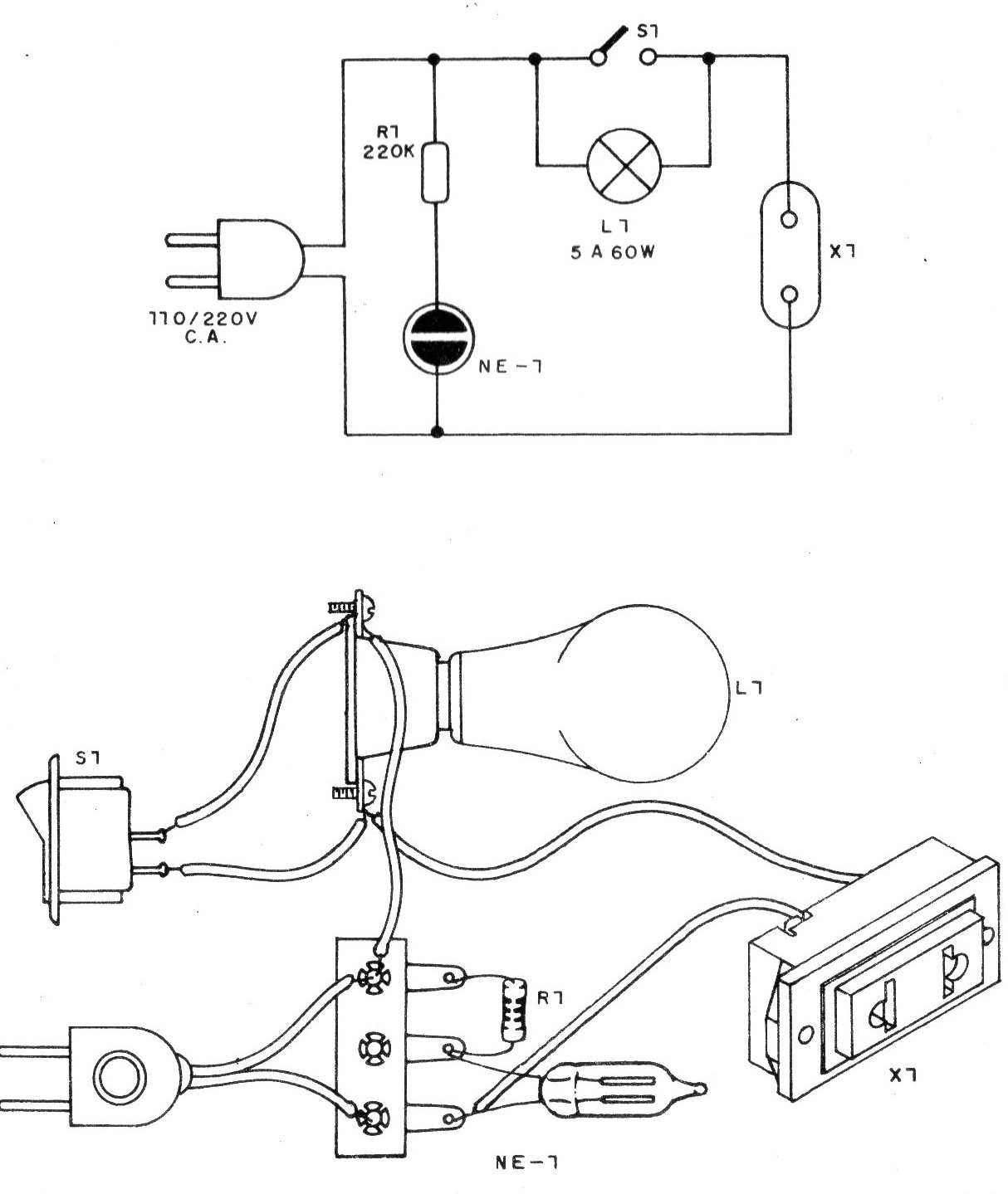
Si usted tiene miedo de conectar los aparatos que usted mismo monta directamente en la toma, pues puede suceder "algo", intente utilizar este protector: si algo está equivocado, la lámpara se enciende.
Lo que tenemos es un circuito que protege su aparato y su instalación en caso de problemas. Si enciende el aparato en X1 y está en corto o con algún error que pueda llevar al cortocircuito de la instalación, la lámpara se enciende fuertemente. Si la lámpara se enciende de modo débil, entonces el aparato probablemente no tiene problemas y puede desencadenar S1 para una alimentación directa.
La lámpara NE-1 sólo indica que hay alimentación en la red, mientras que L1 puede ser una lámpara incandescente común en el rango de 5 a 60 vatios.
Un valor ideal sería de 40 vatios. Para utilizar el aparato proceda del siguiente modo:
Conecte el aparato que se va a experimentar en X1, pero antes asegúrese de que S1 está apagado.
Conecte el aparato en prueba, accionando, ahora, su interruptor general. Si el aparato está en condiciones normales, la lámpara permanece apagada o se enciende con un brillo reducido. El brillo será tanto más fuerte cuanto mayor sea la potencia del aparato y menor que la lámpara. Si algo está mal, la lámpara se enciende con toda la fuerza. En este caso, mano accione S1. Entonces compruebe la probable causa del problema.
Lista de material
NE-1 - lámpara de neón
R1 - 220 k x 1/8 W - resistor (rojo, rojo, amarillo)
S1 - interruptor simple
L1 - Lámpara común de 5 a 60 W
X1 - Toma
Varios: cable de alimentación, puente de terminales, hilos, soldadura, zócalo para lámpara.




