¿Quieres saber cuál es la posición de una puerta o de un mecanismo remoto? El monitor que describimos utiliza un potenciómetro como sensor, el cual puede ser acoplado en objetos móviles para indicar su posición.
Acoplando el potenciómetro sensor a una palanca, por ejemplo, podemos saber remotamente en qué posición se encuentra.
Si la palanca se acopla a una boya en un depósito, por ejemplo, podemos monitorear remotamente su nivel.
El circuito es de baja corriente, lo que significa un bajo consumo y también que los cables hasta el sensor pueden ser largos.
El indicador es del tipo analógico (galvanómetro) de 200 uA a 1 mA de fondo de escala, pudiendo ser aprovechado de equipos fuera de uso, ya que ya no son fáciles de obtener.
Como opción podemos utilizar la escala más baja de corrientes de un multímetro para hacer la lectura.
En la figura 1 tenemos el diagrama completo del indicador.
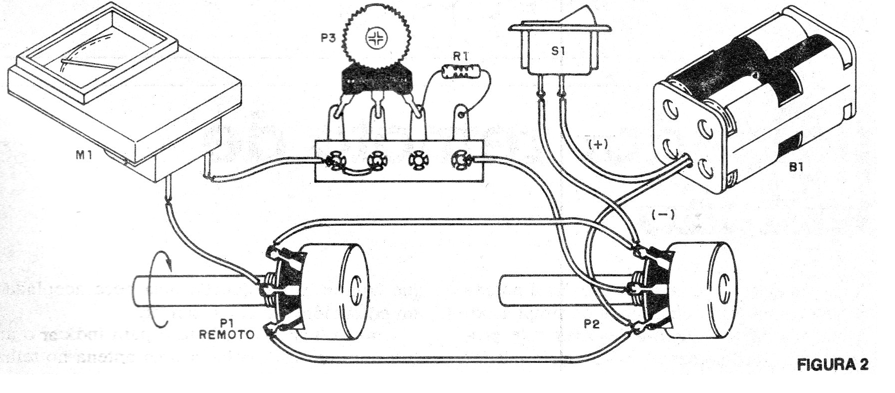
El montaje basado en un puente de terminales se muestra en la figura 2.
El instrumento ideal es que tiene cero en el centro de la escala, para indicar la centralización del sensor.
Los resistores son de 1/8 W con cualquier tolerancia y los potenciómetros lineales.
P1 es el potenciómetro sensor que se conecta remotamente a través de 3 hilos que pueden tener hasta 20 metros de longitud.
P2 ajusta el fondo de escala del instrumento y P3 sirve para centralizar la escala.
Para instrumentos menos sensibles puede ser necesario reducir P1 a 10k y R1 a 2k2 ohms.
Lista de material
M1 - galvanómetro - ver el texto
B1 - 3 V - 2 pilas AA o AAA
S1 - Interruptor simple
P1, P2 - 10 k ohms - potenciómetros lineales
P2 - 47k ohms - trimpot
R1 - 10 k ohms - resistor - marrón, negro, naranja
Varios:
Soporte de pilas, puente de terminales, caja para montaje, hilos, soldadura, etc.





