El circuito que presentamos es ideal para demostraciones de funcionamiento de fuentes alternativas de energía como células solares, baterías experimentales, generadores eólicos y de otros tipos. Funciona con tensiones a partir de 0,4 V generando un tono que se reproduce en un pequeño altavoz.
El oscilador descrito utiliza transistores de germanio que se caracterizan por operar con tensiones muy bajas, pues sólo necesitan 0,2 V para empezar a conducir. Estos transistores ya no son muy comunes, debiendo ser obtenidos en equipos de chatarra.
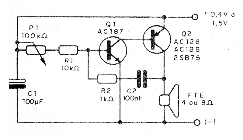
El circuito consiste en un oscilador complementario donde la frecuencia es determinada por el ajuste de P1. El circuito funciona típicamente con tensiones de 0,4 a 1,5 V. En la figura 1 tenemos el diagrama completo de este oscilador de audio para energía alternativa.
El montaje se puede realizar en una matriz de contactos, placa de circuito impreso o puente de terminales. Para los principiantes el montaje en puente es más simple, siendo mostrado en la figura 2.
Lista de material
Q1 - AC187 o equivalente - transistores NPN de germanio
Q2- 2SB75 o AC188 - transistores PNP de germanio
FET - 8 ohms - Altavoz de 2,5 cm a 5 cm
P1- 100 k ohms- trimpot o potenciómetro
R1 - 10 k ohms x 1/8 W - resistor - marrón, negro, naranja
R2 - 1k ohms x 1/8 W - resistor - marrón, negro, rojo
C1- - 100 uF x 3 V o más - capacitor electrolítico
C2- 100 nF- capacitor de poliéster o cerámico
Varios: puente de terminales, fuente de energía alternativa, hilos, soldadura, etc.





