Esta radio es tan pequeña que podemos montarla en una caja de fósforos. Por supuesto, por la no existencia de etapas de amplificación y por la simplicidad del circuito, presenta algunos inconvenientes que demuestran las dificultades encontradas por los pioneros de la radio.
La escucha sólo es posible en auriculares sensibles y aún así será necesario usar una antena muy larga, con al menos 10 metros de longitud. Esto ocurre porque la energía que produce el sonido en los auriculares es la propia energía captada por la antena, que debe ser la mayor posible.
Sin embargo, en localidades en las que hay estaciones AM fuertes, podemos obtener una buena escucha de las estaciones desde que no estén muy distantes.
Se trata, en realidad, de una versión modernizada de los antiguos radios de cristal o galena usados por nuestros antepasados en los primeros tiempos de la radio. En esta versión el cristal de galena se sustituye por un diodo de germanio.
En la figura 1 tenemos el diagrama completo de la radio.
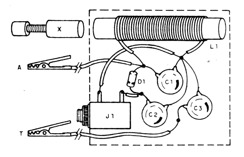
Las garras A y T se conectan a una antena y tierra. La tierra puede ser cualquier objeto de metal grande que tenga contacto con el suelo. La antena es un hilo conductor que se puede encapar, estirar. En la figura 2 tenemos el montaje del receptor.
La bobina L1 está formada por 100 vueltas de hilo esmaltado hilo 28 a 30 en un tubo de cartón dentro del cual pueda deslizar un pequeño núcleo de ferrita. Este núcleo puede obtenerse de bobinas de FI de radios antiguas. El movimiento de la ferrita hace la sintonía de la estación.
Los capacitores C1, C2 y C3 son cerámicos y el diodo puede ser el 1N34 o cualquier equivalente de germanio.
Es importante observar que el auricular debe ser de cristal o una cápsula cerámica de alta impedancia. Los auriculares comunes en su mayoría, del tipo usado en MP3, walkman y otros aparatos son de baja impedancia.
En la figura 3 tenemos la sugerencia de montaje en una cajita pequeña.
Lista de material
L1-Bobina - ver el texto
D1- 1N34 - diodo de germanio
C1- 10 pF- capacitor cerámico
C2- 100 pF- capacitor cerámico
C3- 10 nF- capacitor cerámico
J1- Jaque para el auricular
Varios: caja para montaje, bastón de ferrita, hilos esmaltados, auriculares, etc.






