Es un mezclador que se puede montar con pocos componentes y no necesita fuente de alimentación. Puede mezclar señales de fuentes de buena intensidad para que puedan aplicarse a una entrada de un amplificador u otro circuito. El mezclador es pasivo en el sentido de que no tiene etapas de amplificación, lo que quiere decir que el amplificador debe ser una buena ganancia.
En el proyecto original damos sólo 2 canales, pero nada impide que el circuito tenga más canales. Los cables de entrada y salida del circuito deben ser cortos y blindados. En la figura 1 tenemos el circuito completo del mezclador.
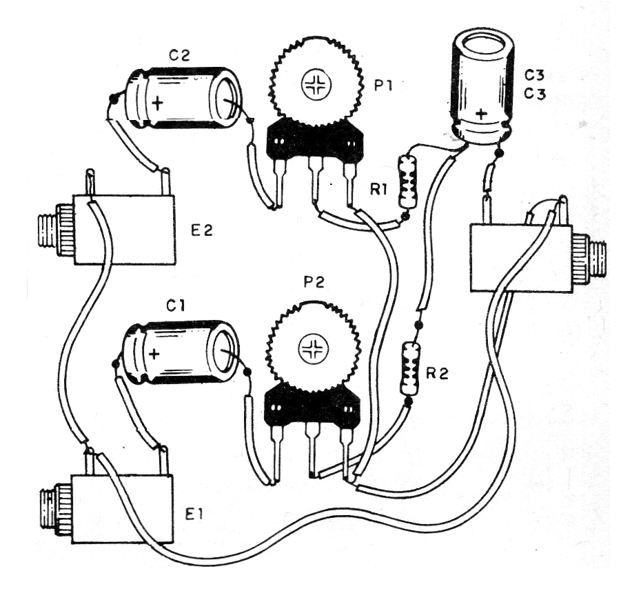
No hay necesidad de tener placa o puente y en lugar de los trimpots se pueden utilizar potenciómetros log comunes. En la figura 2 tenemos las interconexiones de los componentes.
Los jacks deben ser elegidos de acuerdo con las fuentes de señales y para la salida podemos usar un enchufe de acuerdo con la entrada del amplificador, a través de cable blindado.
Lista de material
P1, P2- 100 k ohms-potenciómetros o trimpots
C1, C2- 1 uF x 25 V - capacitores electrolíticos
C3 - 10 uF x 25 V - capacitores electrolíticos
R1. R2- 100 k ohms x 1/8 W - resistores - marrón, negro, amarillo
Varios: caja para montaje, hilos, soldadura, etc.





