Podemos utilizar un pequeño altavoz de 4 u 8 ohmios como auriculares, utilizando para este propósito un circuito amplificador y adaptador de impedancia. Este circuito es lo que mostramos en este artículo.
Con este circuito podemos utilizar un altavoz de 2,5 o 5 cm como auriculares de alta impedancia, alrededor de 10 k. El circuito utiliza pocos componentes y es alimentado por 4 pilas comunes, que tendrán gran durabilidad, dado el bajo consumo.
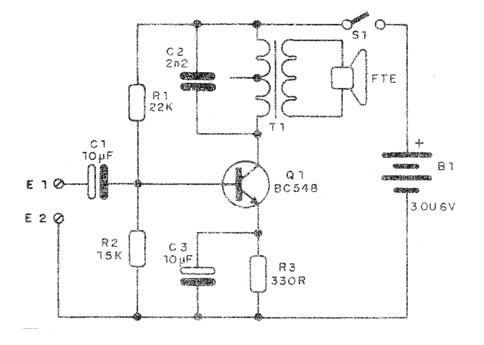
Podemos colocar el altavoz en una cajita o incluso adaptarlo a un auricular antiguo de uso o que tenga su cápsula estropeada; En la figura 1 tenemos el circuito completo del adaptador.
Los componentes menores del montaje pueden ser solados en un puente de terminales, como se muestra en la figura 2.
El pequeño transformador es del tipo de salida encontrado en viejos radios transistorizados. Para la entrada se puede utilizar un cable con enchufe, como en los auriculares comunes, o dos hilos con garras.
Lista de material
Q1 - BC548 - transistores NPN de uso general
T1 - Transformador de salida - ver texto
FTE - Altavoz de 2,5 cm a 5 cm - 4 ó 8 ohmios
B1 - 2 o 4 pilas pequeñas
R1 - 22 k ohms x 1/8 W - resistor - rojo, rojo, naranja
R2 - 15k x 1/8 W - resistor - marrón, verde, naranja
R3 - 330 ohms x 1/8 W - resistor - naranja, naranja, marrón
C1, C3- 10 uF x 6 V o más - capacitores electrolíticos
C2 -1n2 - capacitor de cerámica
Varios: soporte de pilas, puente de terminales, caja para montaje, hilos, soldadura, etc.





