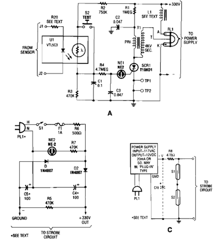
Encontramos este circuito en el volumen 5 de la Enciclopedia de Circuitos Electrónicos de 1995. Emite una luz de xenón pulsante de alta potencia.
Con pocas resistencias podemos obtener muchos valores para experiencias, cambiando la manera de...
Esta alarma emplea sólo tres componentes: un juego de pilas, un relé y un interruptor de presión que...
Un tipo de fuente de alimentación bastante simple y útil es la que no hace uso del transformador....