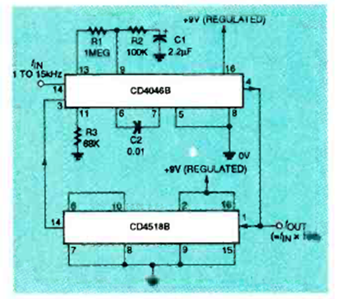
Este circuito multiplica la frecuencia de una señal por 100. El circuito fue encontrado en la edición de octubre de 1994 de la revista Electronics Now. El PLL no funciona por encima de aproximadamente una docena de megahertz.
Este oscilador produce una señal rectangular en el rango de 100 Hz a 1 kHz pero con el cambio del...
Este circuito fue obtenido en una publicación de 1980, pero puede montarse aún hoy con facilidad, pues...
La frecuencia de la señal rectangular producida por este oscilador depende de la cantidad de luz...