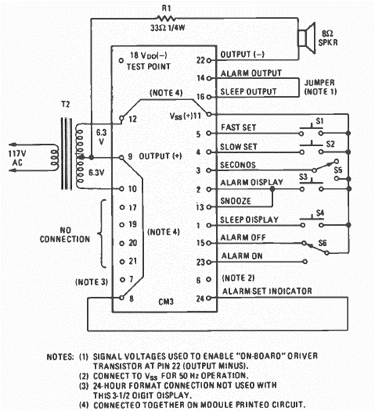
Este circuito es de un módulo de reloj digital Fairchild que se muestra en la revista Radio Electronics de marzo de 1977. El circuito requirió pocos elementos externos, incluido un transformador común.
Cuando alguien que ingresa a una ubicación abre uno de los sensores conectados a la puerta SOR, el...
¿Qué tal montar un intercomunicador secreto para conversar con su hermano, vecino o compañero sin que...
Este circuito detecta cuando la temperatura de un congelador, mostrador frigorífico o incluso un...