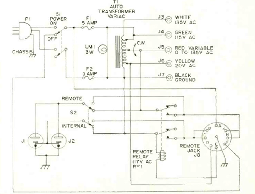
Esto representa un circuito autotransformador muy útil en el banco. Lo encontramos en la revista Radio Electrónica de septiembre de 1970. El transformador debe ser acorde con lo que se quiere suministrar en la salida.
Se presenta una prueba simple de transistores NPN y PNP que, además de decir si el componente está bien,...
Si usted necesita un circuito para producir un tono continuo en un bocadillo o cápsula...
Cuando un pulso de luz incide en el LDR, este circuito dispara un temporizador monoestable 555 que acciona...