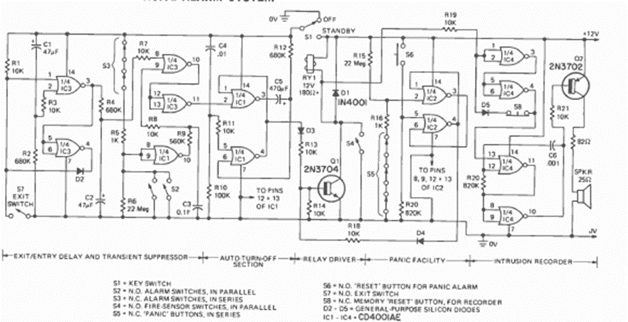
Este circuito fue encontrado en un artículo de la revista Radio Electronics de mayo de 1975. El circuito tiene varias características y funciona con una fuente de 12 V o una batería.
En el circuito de la figura tenemos una aplicación de un transistor como oscilador. Para ello,...
La acción rápida de conmutación del 4093 ayuda a obtener un circuito de interruptor nocturno que no se...
La frecuencia de este oscilador depende de los capacitores y valores típicos para los resistores son...