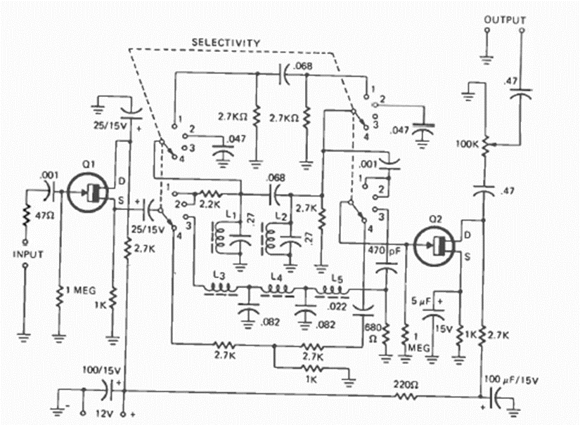
Este sofisticado filtro para señales de audio fue encontrado en la revista Radio Electronics. Las frecuencias están determinadas por circuitos LC. El circuito tiene selectividad seleccionada mediante un interruptor.
Este es un simple montaje didáctico que se puede realizar sobre la base de un puente de terminales o...
Si usted tiene miedo de conectar los aparatos que usted mismo monta directamente en la toma, pues...
Este oscilador puede generar señales de 100 kHz hasta más de 50 MHz dependiendo del cristal usado y del...