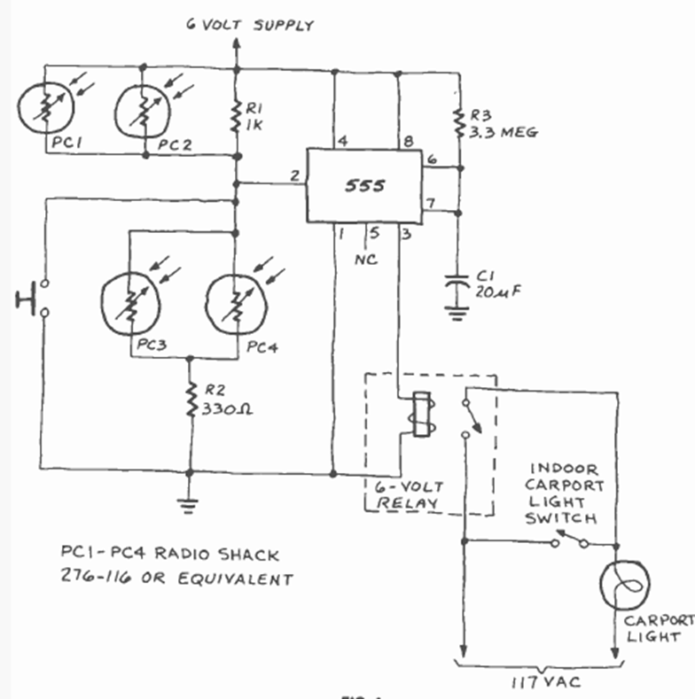
Recomendado para aplicaciones automotrices, este circuito se encontró en la revista Radio Electronics de noviembre de 1980. Los sensores son LDR comunes y la aplicación recomendada es la iluminación de luces de garaje.
El anemómetro es un instrumento usado en la medida de la velocidad del viento. El anemómetro que...
El circuito mostrado en la figura 1 modula un haz de luz emitido por un LED (visible o infrarrojo) a...
Este circuito se puede utilizar en el coche, para mantener la luz de cortesía encendida después de la...