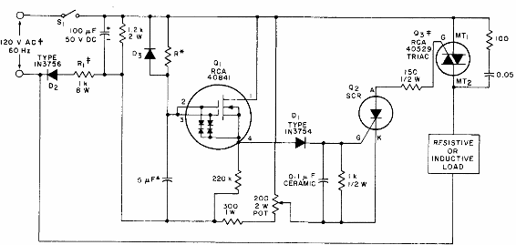
El circuito presentado es del Linear Integrated Circuits and MosFETs de la RCA de 1977. Los componentes pueden ser cambiados por tipos actuales, sólo hay dificultades en relación a Q1 que, sin embargo, puede ser cualquier MOSFET de doble coma. Los diodos pueden ser los 1N4004.




