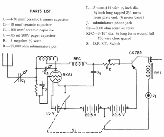
La frecuencia depende de la bobina y no se encuentra en la documentación original, pero debe rondar los 40 MHz para el número de vueltas de la bobina. El circuito es de un manual de Raytheon de la década de 1960.

Receptor para mando a distancia
La frecuencia depende de la bobina y no se encuentra en la documentación original, pero debe rondar los 40 MHz para el número de vueltas de la bobina. El circuito es de un manual de Raytheon de la década de 1960.
