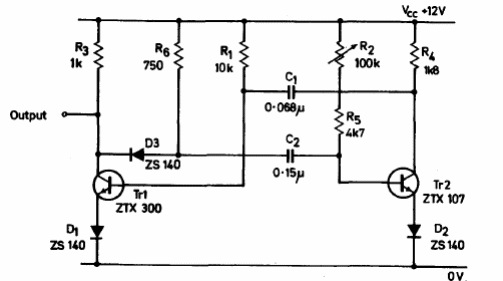
Este astable tiene un rango de control de frecuencia de 10 a 1. Lo encontramos en el manual de transistores de Ferranti de 1974. Los transistores son tipos comunes en ese momento.

Astable Ajustable
Este astable tiene un rango de control de frecuencia de 10 a 1. Lo encontramos en el manual de transistores de Ferranti de 1974. Los transistores son tipos comunes en ese momento.
