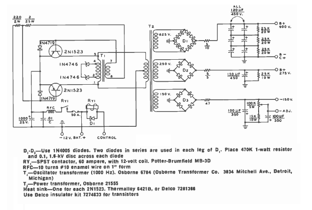
Encontrado en una documentación para radioaficionados de 1977, este circuito está destinado a alimentar equipos de 12 V de la batería del automóvil. Los transistores son tipos de potencia de la época.

Inversor de 240W
Encontrado en una documentación para radioaficionados de 1977, este circuito está destinado a alimentar equipos de 12 V de la batería del automóvil. Los transistores son tipos de potencia de la época.
