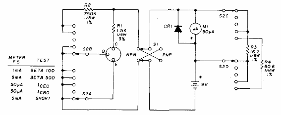
Este circuito fue encontrado en un manual de radioaficionados de 1975. Proporciona la ganancia de los transistores en prueba en 5 gamas. Se puede utilizar la escala más baja de corrientes de un multímetro común. El diodo es de uso general 1N4148 y el circuito prueba tanto transistores NPN como PNP.




