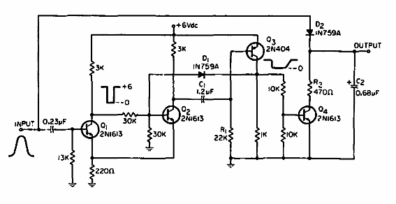
Encontramos este circuito en una documentación estadounidense de los años 60. El circuito se puede hacer con transistores equivalentes. Básicamente consta de un monoestable.

Manejo de tensión de pico
Encontramos este circuito en una documentación estadounidense de los años 60. El circuito se puede hacer con transistores equivalentes. Básicamente consta de un monoestable.
