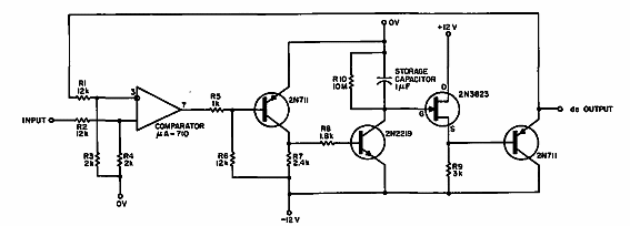
Encontrado en una Electronic Design de 1967, este circuito puede detectar pulsos tan estrechos como 0,2 us. Los componentes activos se pueden reemplazar con equivalentes modernos.

Sensor de pulso estrecho
Encontrado en una Electronic Design de 1967, este circuito puede detectar pulsos tan estrechos como 0,2 us. Los componentes activos se pueden reemplazar con equivalentes modernos.
