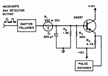
Este circuito, que se encuentra en un diseño electrónico de 1968, está destinado a la supresión del ruido de disparo en los circuitos. El transistor admite equivalente.

Supresor de ruido de disparo
Este circuito, que se encuentra en un diseño electrónico de 1968, está destinado a la supresión del ruido de disparo en los circuitos. El transistor admite equivalente.
