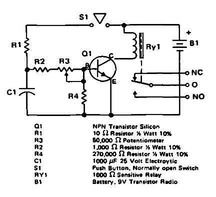
Este circuito se obtuvo de una antigua documentación estadounidense, y prácticamente cualquier transistor de propósito general y relé sensible se puede utilizar de acuerdo con la tensión de alimentación.

Temporizador versátil
Este circuito se obtuvo de una antigua documentación estadounidense, y prácticamente cualquier transistor de propósito general y relé sensible se puede utilizar de acuerdo con la tensión de alimentación.
