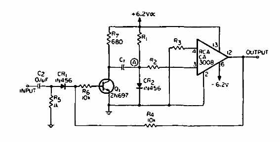
Encontrado en una documentación estadounidense de 1967, este circuito produce un pulso con un retraso que depende de los componentes utilizados. El operacional es de la época.

Pulso con retardo variable
Encontrado en una documentación estadounidense de 1967, este circuito produce un pulso con un retraso que depende de los componentes utilizados. El operacional es de la época.
