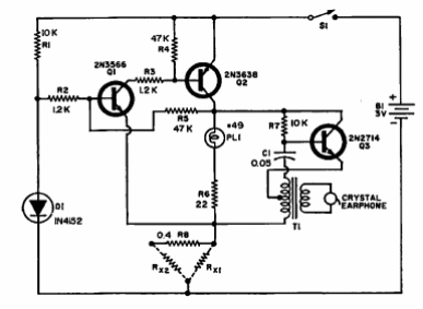
Encontrado en una Electronics World de 1967, este circuito utiliza componentes de la época. Se pueden utilizar transistores modernos de propósito general. El transformador sale de radios de transistores.

Probador de continuidad
Encontrado en una Electronics World de 1967, este circuito utiliza componentes de la época. Se pueden utilizar transistores modernos de propósito general. El transformador sale de radios de transistores.
