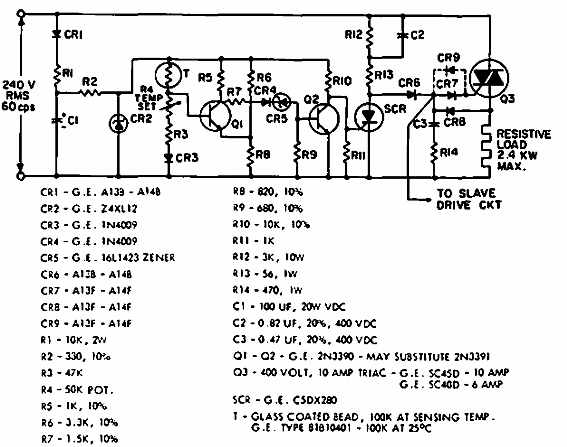
Este control de temperatura semi-proporcional se encontró en una documentación estadounidense antigua. Los componentes son del período y la potencia máxima de 2,4 kW.

Control de temperatura
Este control de temperatura semi-proporcional se encontró en una documentación estadounidense antigua. Los componentes son del período y la potencia máxima de 2,4 kW.
