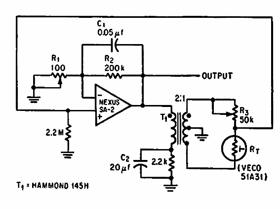
Encontramos este circuito en una antigua documentación estadounidense. El amplificador operacional es del tiempo y la salida utilizados para controlar un SCR u otro control de potencia.

Control proporcional
Encontramos este circuito en una antigua documentación estadounidense. El amplificador operacional es del tiempo y la salida utilizados para controlar un SCR u otro control de potencia.
