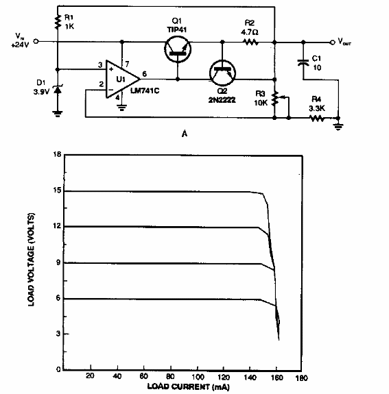
Este circuito fue encontrado en una Popular Electronics de los años 90. La curva de operación se da al lado del diagrama. El transistor de potencia debe tener un disipador de calor.

Limitador de corriente
Este circuito fue encontrado en una Popular Electronics de los años 90. La curva de operación se da al lado del diagrama. El transistor de potencia debe tener un disipador de calor.
