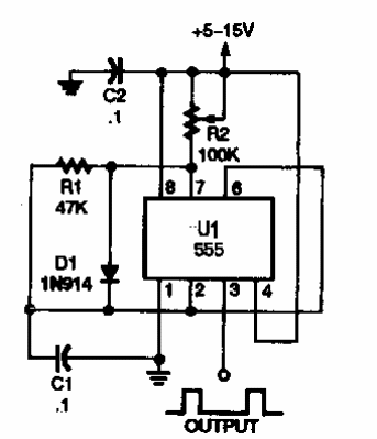
Esta configuración de ciclo de trabajo del 50% se encontró en un Popular Electronics de los 90. La frecuencia de operación viene dada por C1.

Astable 555
Esta configuración de ciclo de trabajo del 50% se encontró en un Popular Electronics de los 90. La frecuencia de operación viene dada por C1.
