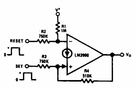
Este amplificador operacional biestable con transconductancia se encontró en antigua documentación National Semiconductor.

Bestable
Este amplificador operacional biestable con transconductancia se encontró en antigua documentación National Semiconductor.
