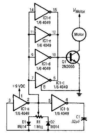
Este circuito para motores de baja tensión se encontró en una Electronics Now de los años 90. El transistor debe estar equipado con un disipador de calor.

Control PWM
Este circuito para motores de baja tensión se encontró en una Electronics Now de los años 90. El transistor debe estar equipado con un disipador de calor.
