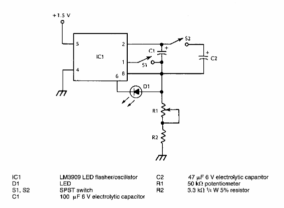
Basado en el conocido LM3909, este circuito pulsador LED se encontró en la documentación estadounidense de los años 90. La fuente de alimentación es de solo 1,5 V.

Metrónomo visual
Basado en el conocido LM3909, este circuito pulsador LED se encontró en la documentación estadounidense de los años 90. La fuente de alimentación es de solo 1,5 V.
