Este circuito se encontró en una documentación de Burr-Brown de los años 90. Los amplificadores operacionales utilizados son de la época. El circuito se puede implementar con equivalentes modernos.

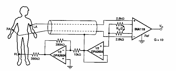
ECG con conexión de pierna
Este circuito se encontró en una documentación de Burr-Brown de los años 90. Los amplificadores operacionales utilizados son de la época. El circuito se puede implementar con equivalentes modernos.
