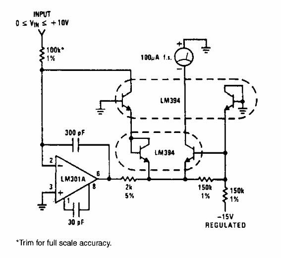
En este circuito de la década de 1990, que se encuentra en un manual de National Semiconductor, el voltaje de salida es el cuadrado de la tensión de entrada. Los componentes son de la época.

Circuito de cuadratura
En este circuito de la década de 1990, que se encuentra en un manual de National Semiconductor, el voltaje de salida es el cuadrado de la tensión de entrada. Los componentes son de la época.
