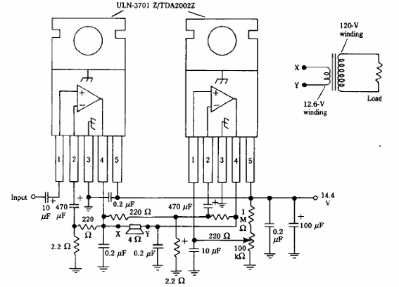
Este amplificador en puente para el automóvil se encontró en una documentación estadounidense de los años 90. Se puede utilizar como inversor de tensión. Los circuitos integrados deben estar equipados con disipadores de calor adecuados. Conectando un transformador a la salida, se pueden obtener 120 V CA.

Amplificador de audio como inversor



