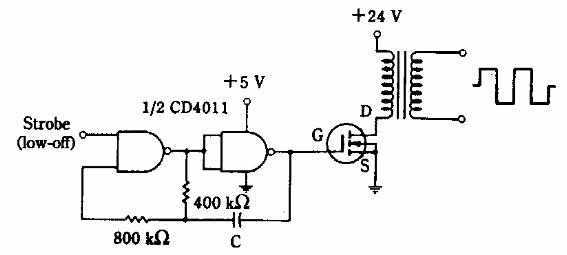
Este inversor de potencia o inversor de tensión genera alta tensión a partir de suministros de 24 V y 5 V. Lo encontramos en una antigua documentación estadounidense. El transformador y el MOSFET están de acuerdo con la potencia deseada.

Inversor de tensión simple



