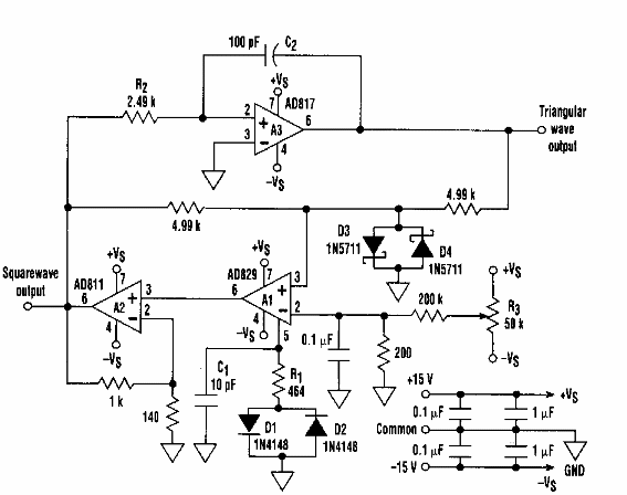
Este circuito se encontró en la documentación estadounidense antigua. Hace uso de amplificadores operacionales de la época, pero se puede implementar con equivalentes modernos.

Generador de funciones de precisión
Este circuito se encontró en la documentación estadounidense antigua. Hace uso de amplificadores operacionales de la época, pero se puede implementar con equivalentes modernos.
