Este circuito se encontró en una documentación de la década de 1980. El circuito integrado utilizado no es muy común en la actualidad.

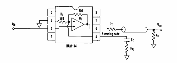
Driver de cable de video
Este circuito se encontró en una documentación de la década de 1980. El circuito integrado utilizado no es muy común en la actualidad.
