Encontrado en un manual de National Semiconductor de la década de 1980, este circuito utiliza un comparador de tensión en ese momento. Normalmente, la alimentación puede estar entre 5 y 12 V.

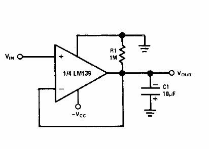
Detector de picos negativos
Encontrado en un manual de National Semiconductor de la década de 1980, este circuito utiliza un comparador de tensión en ese momento. Normalmente, la alimentación puede estar entre 5 y 12 V.
