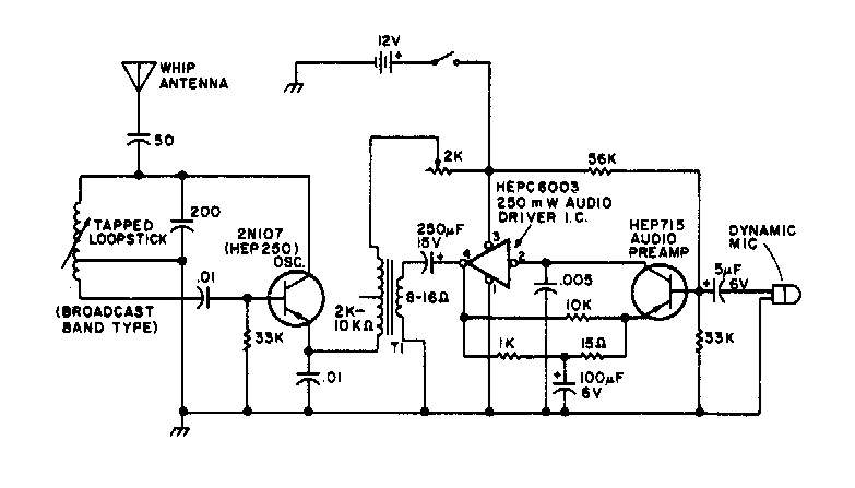
Este pequeño transmisor opera en el rango de onda media. T1 es un transformador de salida para radios de transistores. El operativo admite un equivalente moderno. El circuito es de documentación de los 80.

 

Transmisor de 1 a 2 MHz
Transmisor de 1 a 2 MHz | Haga click en la imagen para ampliar |