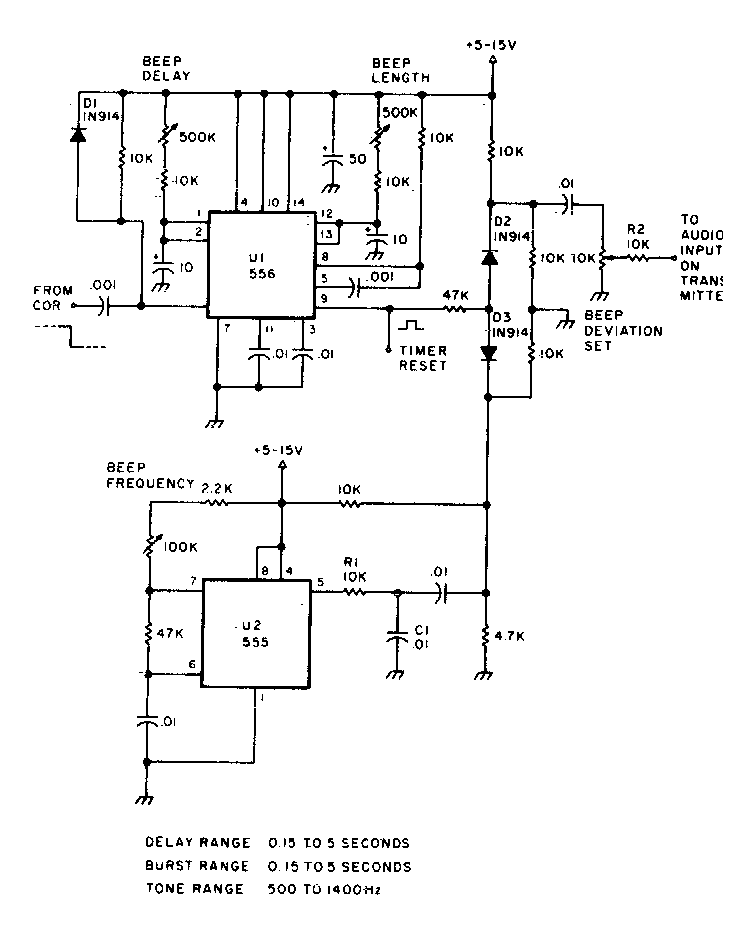
Este circuito se encontró en la documentación para radioaficionados de los años 80. Este es el llamado roger-beep, que es el beep que se transmite cuando se cambia la función hablar-escuchar.

 

Zumbador repetidor
Zumbador repetidor | Haga click en la imagen para ampliar |