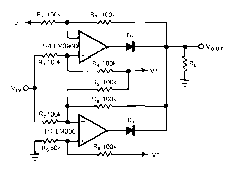
Encontrado en una EDN de la década de 1980, este amplificador suministra una señal cuya amplitud es el valor absoluto de la amplitud de la señal de entrada multiplicada por la relación R2 / R3.

Amplificador de valor absoluto
Encontrado en una EDN de la década de 1980, este amplificador suministra una señal cuya amplitud es el valor absoluto de la amplitud de la señal de entrada multiplicada por la relación R2 / R3.
