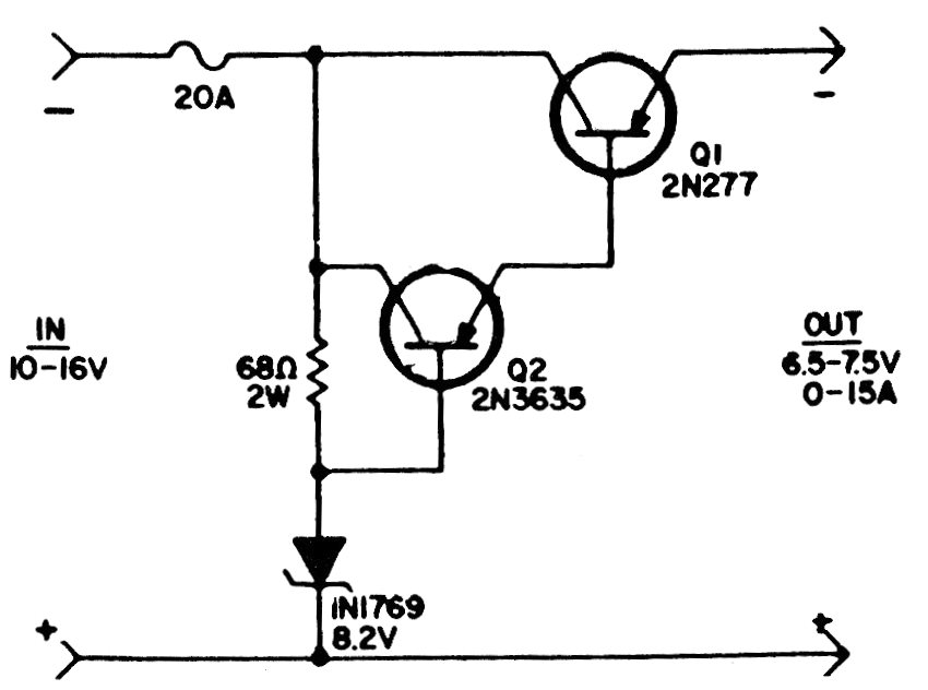
Este reductor se encontró en documentación de los años 80, utilizando transistores de la época. El transistor de corriente más alta debe tener un excelente disipador de calor.
La simple luz de tiempo tiene muchas de otras Aplicaciones. Cuando se toca en S1, un interruptor de la...
Encontramos esta configuración tradicional de oscilador por puente de Wien en una documentación de Texas...
Una lámpara de neón y algunos componentes de chatarra pueden resultar en un interesante...