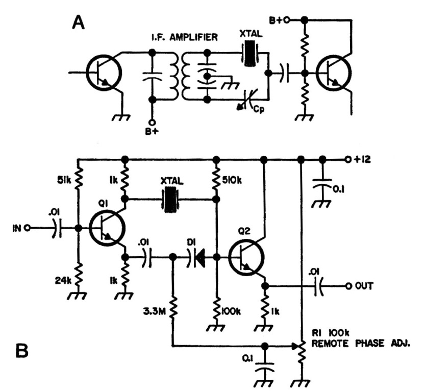
A continuación, se muestran dos filtros de frecuencia para receptores que utilizan cristales. Los cristales deben tener la frecuencia de la FI en el primer caso y en el segundo caso la frecuencia de la señal que debe pasar, el circuito en el segundo caso hace uso de un varicap.




