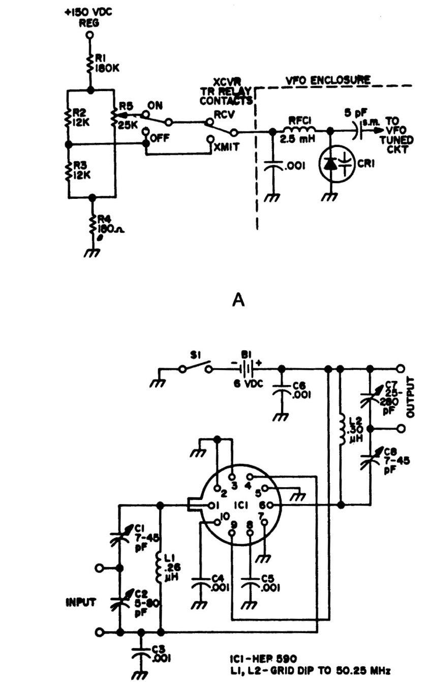
Encontramos este circuito en una documentación de los 80. El circuito tiene una ganancia de 30 dB y usa un varicap para sintonizar. Se pueden utilizar varicaps equivalentes modernos, ya que no se indica el tipo original. El circuito integrado utilizado es de un tipo inusual en la actualidad.




