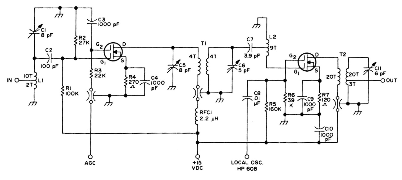
Este antiguo circuito, de los años 80, fue encontrado en documentación estadounidense. El circuito utiliza FET de doble puerto (MOSFET) y no tiene datos sobre las bobinas utilizadas.
La simple luz de tiempo tiene muchas de otras Aplicaciones. Cuando se toca en S1, un interruptor de la...
Encontramos esta configuración tradicional de oscilador por puente de Wien en una documentación de Texas...
Una lámpara de neón y algunos componentes de chatarra pueden resultar en un interesante...