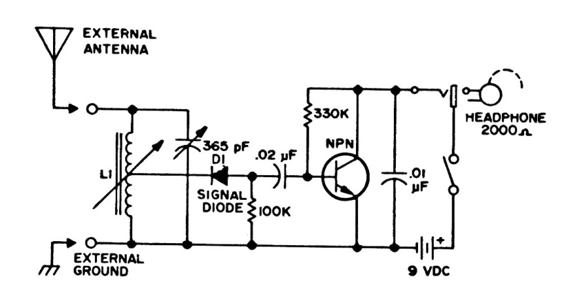
Esta radio de onda media funciona con cualquier transistor NPN de uso general. El diodo debe ser de germanio y una bobina formada por 50 + 50 vueltas de alambre 26 a 30 sobre una varilla de ferrita.

 

Radio transistor
Radio transistor | Haga click en la imagen para ampliar |