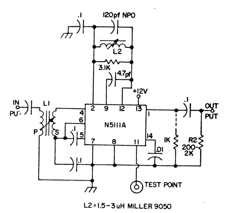
Este circuito se basa en un componente inusual en la actualidad. Demodula una señal FI de 10,7 MHz y se encontró en la documentación de la década de 1980.
La simple luz de tiempo tiene muchas de otras Aplicaciones. Cuando se toca en S1, un interruptor de la...
Encontramos esta configuración tradicional de oscilador por puente de Wien en una documentación de Texas...
Una lámpara de neón y algunos componentes de chatarra pueden resultar en un interesante...